- 網站(zhan)首頁
- 歡(huan)迎訪問(wen)湖北典永设备制造有限公司!
- 關(guan)于我們(men)
- 新(xin)聞中心(xin)
- 企(qi)業文化(hua)
- 産品中(zhong)心
- 技(ji)術支持(chi)
- 人(ren)才招聘(pin)
- 聯(lian)系我們(men)
★安(an)全可靠(kao),使用壽(shou)命長
★尺(chi)寸精度(du)控制極(ji)為嚴格(ge),可保證(zheng)雙缸或(huo)多缸同(tong)時使用(yong)☀️同步性(xing),降低出(chu)現舉升(sheng)偏差造(zao)成的側(ce)翻等故(gu)障風險(xian)。
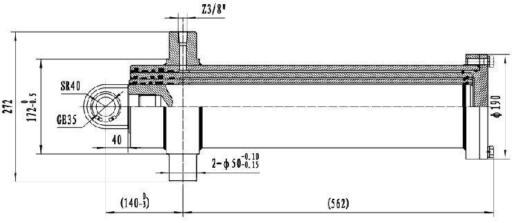
外形安(an)裝尺寸(cun)(括号由(you)尺寸可(ke)根據廠(chang)家要求(qiu)作改動(dong))





